Breguet Expérimentale 1 Explained
A breakdown of how Breguet used magnetic fields to solve watchmaking’s oldest problems
Excuse the unexpected midweek post, but today I will start by referring you to someone else’s work. Flávio Maia runs Relogios Mecânicos, and he’s written what I think is the definitive technical breakdown of Breguet’s new watch.
It looks like he read what others had written, thought it was all bullsh1t, and then went straight to the patent and explained it all properly. I like his style 😂, and if you’re technically inclined and want an engineering deep-dive, do read his essay - you’ll need to use a website translator.
What follows here is my attempt to take Flavio’s insights,
’s excellent additions on the 1916 Company blog, and the patent itself… and translate it all into something a bit more accessible to laypeople like myself. Openly, I am mainly doing this to help reinforce what I think I have understood! Plus, this is legitimately a remarkable innovation which we don’t get to see too often in this industry, so it does deserve its own post. While I have spoken with Flávio via DMs and his thinking has definitely shaped my interpretation throughout, I want to make it clear that any errors in this post are mine alone.Estimated reading time: ~13 mins
Ok so every couple of hundred years, someone figures out a new way to make a mechanical watch tick, and I guess it is rather fitting that we get to witness this in a Breguet watch. As mainstream watch media covered the Expérimentale 1 this week, they all had a go at describing what makes this escapement special. The explanations either got too technical, or they simplified things to the point where the actual innovation got lost.
Flávio went to a patent filed by The Swatch Group nearly a decade ago1 for answers. After studying his analysis and going through the patent myself, the goal in this post is to hit that sweet spot between doing the innovation justice, but also not causing people to ignore it due to its complexity.
Watchmaking problems
Flávio’s approach was to start with fundamentals, and I think that’s exactly right. To appreciate what Breguet has done, it helps to understand the problem they solved. In any mechanical watch, the fully-wound mainspring wants to unwind all at once. It’s just physics; wind it up, let go, and without anything to stop it, the whole thing would spin out in a couple of seconds.
The escapement is the mechanism that prevents this, and it acts like a turnstile at a stadium. It lets the energy from the mainspring through, but only one small bit at a time, in a steady rhythm. In the Swiss lever escapement that has dominated watchmaking for ages, this works through a series of physical collisions.
The escape wheel has specially shaped teeth, and these teeth repeatedly crash into two small ruby pallets on an anchor. Each collision locks the wheel momentarily, then releases it, while it also gives a tiny kick to the balance wheel to keep it swinging. Obviously this works pretty well (proven by how long we have continued to use it!) but it has two problems that can’t be engineered away. Thus far, most improvements have worked towards minimising these problems, but failing to get rid of them.
Friction. Every time metal meets jewel, energy is lost. Every time the wheel locks against the pallet, tiny amounts of lubricant degrade. Over months and years, this friction changes the behaviour of the watch, and the system requires regular servicing to maintain its accuracy.
Variable impulse. The kick delivered to the balance wheel depends directly on how much energy is in the mainspring. When you’ve just wound your watch, the mainspring pushes hard, and the balance swings with a high amplitude. A day later, as the spring unwinds, that push gets weaker and the balance swings with lower amplitude; and because amplitude affects timekeeping, the accuracy of the watch drifts throughout the day.
Watchmakers have attacked both problems with many clever solutions over the years; they’ve tried better lubricants, silicon components that need less oil, remontoires that store energy in intermediate springs, tourbillons that average out positional errors and so on. All of these are basically workarounds, because the basic physics in the system don’t really change - impact equals friction, and mainspring state affects impulse.
Touch nothing!
The Expérimentale 1 solves both these problems by eliminating physical contact between the escape wheel and the anchor. Here, they have no teeth crashing into pallets, and no rubies sliding against steel. Instead, the entire interaction happens via magnetic fields which push against each other.
As it happens, the idea of a magnetic escapement isn’t actually new at all, and unsurprisingly, Jack Forster pointed this out in his coverage already. Cecil Clifford built one back in 1938, and it worked well enough in clocks, but making it work in a wristwatch has not been achieved until now. The breakthrough isn’t really about “using magnets” but about how Breguet uses magnetic fields.
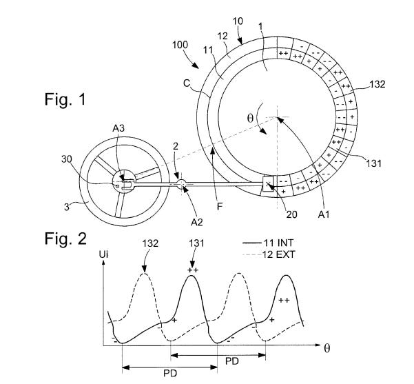
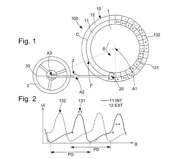
As you can see in the image, the escape wheel in the Expérimentale 1 has three levels, stacked like a sandwich. The top and bottom levels are titanium discs with continuous bands of magnetic material applied to their surfaces (not discrete magnets stuck around the rim). Essentially, they have a continuous magnetic track that wraps all the way around each disc. The middle bit (in gold) is a non-magnetic wheel that serves as a safety mechanism, which we will get to later.
The anchor itself (on the right) also has little magnets, positioned to interact with the tracks in the sandwich via repulsion. You may recall from primary school physics that when ‘like’ poles on a magnet face each other, the magnets push apart. This repulsive force is how the whole system runs.
The clever part is yet to come! If you were to put a uniform magnetic ring on the escape wheel, you’d get a uniform repulsive force all the way around. This means the wheel would either spin freely or lock completely, and neither of these would be useful in a watch. What Breguet needed was a way to create “regions” where the repulsion increases gradually, and other regions where it jumps dramatically. The patent shows how they did this; essentially they vary the width of the magnetic track in the sandwich, despite its thickness being constant. Watch this in slow motion if you can:
Slingshots
Most of the watch media described this innovation as “areas of stronger and weaker magnetism” which is technically true, but misses a crucial point. The magic isn’t the fact that they have different strengths at all... the magic happens in how those strengths change as the wheel rotates.
To understand this, let’s imagine a slingshot like the ones you’d make as a kid after finding a perfect y-stick. As you pull the band back, the resistance in the band increases gradually. The further you pull back, the more energy you store. Now imagine this particular slingshot has a stopper, a hard limit that prevents you from pulling beyond a certain point. No matter how strong you are, you can’t pull past that mark.
This is basically what the magnetic track creates. As the escape wheel rotates, the anchor’s magnet passes over different sections of the track (in the sandwich). Where the track is narrow, repulsion is weak. As the track widens, repulsion increases gradually. This is called a magnetic ramp. Energy is being stored in the magnetic field, just as energy is stored in a stretched rubber band.
Then comes the barrier, where, at a specific point, the track geometry changes more sharply. The repulsive force jumps so dramatically that the mainspring’s torque simply can’t push past it. As a result, the wheel just stops. This is not because anything physical is blocking it, but because the magnetic field creates an impassable barrier (like the stopper in the slingshot).
From the patent:
“Les barrières de potentiel 131, 132, indiquées ++ sur les fig. 1 et 2, ont pour effet de stopper l’avance de la roue 1.”
“...une barrière de champ magnétique à champ croissant et dont le gradient de champ est supérieur à celui de ladite rampe.”
English:
“The potential barriers 131, 132, indicated ++ on fig. 1 and 2, have the effect of stopping the advance of wheel 1.”
“...a magnetic field barrier with increasing field and whose field gradient is superior to that of said ramp.”
In simpler terms, the the force is large enough that no amount of mainspring force can overcome it - so it’s effectively like a stopper, but with no physical impact. Pretty cool, right?!
Step by step
Now that you understand ramps and barriers, let’s go through the complete cycle.
Step one: The mainspring, through the gear train, pushes the escape wheel to rotate. The anchor’s magnet is positioned over one of the magnetic tracks.
Step two: As the wheel turns, the magnet enters the ramp zone where repulsion increases gradually. The wheel slows down as it climbs this invisible incline.
Step three: The wheel reaches the barrier. The magnetic gradient jumps up to the max, so the mainspring’s force is no longer enough to push further. So, the wheel stops completely. It’s now locked in place, with all that accumulated magnetic energy stored like a coiled spring.
Step four: The balance wheel, swinging freely on its hairspring, returns. Its impulse pin pushes the anchor, causing it to tip. This changes the configuration of the magnetic field.
Step five: As the anchor tips, the stored magnetic energy releases. This energy gives the balance wheel its kick (impulse) to keep swinging. Crucially, this seems to happen while the escape wheel is still stopped.
Step six: After the anchor has tipped and impulse has been delivered, the barrier no longer holds. The wheel is released and spins forward until it reaches the next ramp on the opposite track. Then the cycle begins again.
One major thing to note is this is kinda the opposite of how a traditional escapement works. In a Swiss lever, the impulse comes from the moving wheel pushing the pallet. Here, the impulse comes from the accumulated magnetic field, released while the wheel stands still.
Consistent impulse
Now if you recall, we briefly mentioned how remontoires were one of the problem-solving techniques used in the past - in this new design, constant force is in fact another consequence as well!
Let’s go back to that slingshot with the stopper. If you’re strong, you pull the band back quickly and it hits the stopper fast. If you’re tired, you pull slower, and it takes longer to reach the stopper. But either way, when you release, the band snaps forward with the same force, as long as you pull back the same amount, all the way to the stopper. The stopper being there will ensure you always pull to exactly the same point.
The magnetic barrier works in the same way. When the mainspring is fully wound and pushing hard, the escape wheel climbs the ramp quickly. When the mainspring is nearly exhausted and pushing weakly, the wheel climbs slowly. But in both cases, it stops at exactly the same point, which is at the base of the barrier, because that’s where the magnetic gradient exceeds what the spring can overcome.
Since the stopping point is always the same, the accumulated magnetic energy is always the same. And since the impulse comes from that accumulated energy, the impulse is always the same. The kick to the balance wheel never varies, and that’s regardless of how wound up (or not) the mainspring is.
As a result, the Expérimentale 1 can guarantee a daily rate variation of no more than one second; the balance always swings with the same amplitude because it always receives the same kick.
Sandwich confusion
The middle wheel, sandwiched between the two magnetic discs, has caused some confusion among those analysing this watch. It’s non-magnetic, so what’s it doing there?
Hodinkee’s coverage suggested that the anchor contacts this wheel during normal operation, comparing it to how traditional pallets lock against escape wheel teeth. If true, this would mean there’s still planned friction in the system, which would somewhat undermine the “frictionless” claim.
Flávio disagrees with this strongly. His reading of the patent indicates that the middle wheel is purely a safety device, an anti-tripping mechanism for when the watch suffers a violent shock. In normal operation, he argues, there’s no contact whatsoever.
The patent supports a more nuanced interpretation, in that it describes the system as operating without contact or with attenuated contact, and discusses mechanical stops (butées mécaniques) specifically in the context of shock protection.
After discussing this with Flávio, my interpretation is that the middle wheel probably provides a positional reference and backup locking mechanism, but the primary locking during normal operation is fully magnetic. Any contact that does occur is incidental (i.e. not part of the energy transfer, and not required under normal operating conditions). This would make the claim of frictionless impulse accurate, even if other phases involve ‘light touching’ for positioning.
By the way, I did wonder whether this ‘light touching’ might even be the reason they can’t get this to be perfectly accurate with a daily rate variation of zero seconds? Anyway, one second is pretty good 😂
Pure epicness
Yes, that’s not a word. Sue me.
I say this at least once a month, but mechanical watchmaking is, objectively, obsolete. A cheap quartz watch keeps better time than any mechanical one, and heck, a smartwatch does that while also tracking your heart rate, playing your podcasts, and nudging you to stand up every hour. From a utilitarian perspective, spending a decade perfecting a magnetic escapement is fvcking absurd.
And yet… our man Abraham-Louis spent his life inventing; constant-force escapements, tourbillons, the overcoil, gongs for minute repeaters, you name it. He never stopped asking whether there was a better way to solve problems that were ‘already solved’.



Clearly then, this Expérimentale 1 carries that spirit forward, answering what would have seemed like stupid questions in the past - “what if we eliminated friction?”, “what if the wheel could stop without touching anything?” and “what if impulse could be completely independent of mainspring state?” These questions probably started out having no commercial logic behind them, and even now, only 75 pieces will be made, each costing CHF 320,000.
I don’t think this tech will become an industry standard anytime soon, but perhaps, in due course, this will give rise to a new wave of innovation in escapements. Asking and answering ‘stupid’ questions is how we expand what we understand to be possible, within the physics of a mechanical watch. To me, this watch is about keeping alive a tradition of intellectual curiosity that has nothing to do with telling time and everything to do with human ingenuity smashing up against its own limits.
Rolex’s CEO said at Dubai Watch Week that the industry needs two things to survive - collaboration and healthy competition. Competition definitely drives creativity, and Kissling and his team at Breguet have delivered something that advances watchmaking in general… not just their own catalogue. That alone seems worth celebrating, even if, or perhaps especially because, it serves no practical purpose whatsoever!
Final thoughts
I’ve got to say, this was a fun morning indeed… what a treat to be able to witness such fantastic innovation in our hobby. For all the whining and complaining about new dial colours and silly case shapes which we are bombarded with over the years, this is really a moment to celebrate and appreciate - regardless of how you feel about the aesthetics of this watch.
Also, when watches like this are released (not often, to be sure!), it is a stark reminder that technical watch journalism is really fvcking difficult! Getting this stuff right on first pass is insanely difficult and if you don’t believe me, download the patent below and try to figure it out yourself. By the way, if I misunderstood something or if you spot any errors, feel free to say so in the comments. I am here to learn, and other readers will appreciate it too.
Whether this technology trickles down to more accessible watches remains to be seen, but I believe Kissling has hinted it might - which again, is great news for everyone. For now, the Expérimentale 1 is a demonstration that the fundamental physics of mechanical timekeeping can still be reimagined, 250 years after Abraham-Louis Breguet opened his workshop in Paris.
That is inspiring, to say the least… but I am really looking forward to your thoughts in the comments, even if it’s just to say you still don’t get it 😂
Here’s the full patent:









Worth a comparison here is the Spring Drive movement, which Seiko manufactures in large quantities at relatively affordable prices. Here, too, the movement is powered by a spring and regulated magnetically, with accuracy of (in my experience) a second per day. The difference is that in the Spring Drive, regulation is by means of a pair of electromagnets astride a smoothly turning escape wheel, with accuracy governed by a quartz device, which itself is powered by the mainspring via a tiny generator.
For those interested there is a US patent, published in 2023: https://worldwide.espacenet.com/patent/search/family/062563079/publication/US11640141B2?q=pn%3DUS11640141B2
US11640141B2, which presents three variants (one of which, as far as I can tell at a cursory examination, is very similar to Clifford's).
In that filing, the stop wheel's function (it's part no. 70 if you want to find it quickly) is described thus: " In an advantageous variant, represented in FIGS. 2 and 6 to 9 , a safety mechanism is envisaged in the event of shocks or other high accelerations liable to be sustained by the magnetic escapement. It is obtained by teeth 70 secured to the escape wheel set arranged at the arms 54 and 55 of the pallet fork bearing respectively both magnets 32 and 33 , these teeth being suitable for engaging with two fingers situated respectively at the ends of both arms. In each rest position of the pallet fork, if the magnetic barrier described above does not exert a sufficient stopping torque to prevent the escape wheel set from not traversing same, one of the two fingers then comes to a stop against one of the teeth 70"
The video published by Breguet seems to show one of the pallets in physical contact with the stop wheel – I have an ask out to Breguet on this. I had a quick DM exchange with Flavio – it may be that between the patent filing and the actual implementation, Breguet decided to buy itself a little extra insurance against accidental unlocking. The actual locking, however, seems to be entirely due to repulsive magnetic forces, and critically, the Breguet video shows, albeit very briefly, that the escape wheel doesn't move when the pallet is propelled away from escape wheel.
It's also possible that the clearance between the stop wheel and the pallet is so small that it's not clearly visible in the video. Anyhow, hoping to hear from Breguet on this. This is a very challenging escapement to understand even if you have a general understanding of escapements already, and my take is that anyone who tries to tackle it deserves some credit for taking a shot at it. Your conclusion is very apt:
"I don’t think this tech will become an industry standard anytime soon, but perhaps, in due course, this will give rise to a new wave of innovation in escapements. Asking and answering ‘stupid’ questions is how we expand what we understand to be possible, within the physics of a mechanical watch. To me, this watch is about keeping alive a tradition of intellectual curiosity that has nothing to do with telling time and everything to do with human ingenuity smashing up against its own limits." 👏
Also you know what's cool and kind of weird is that the US patent linked to above includes a chain and fusee 😀