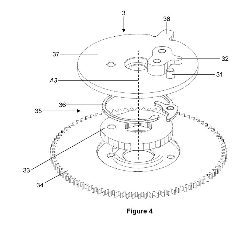
Rolex's New Calendar Patent
Annual or Perpetual?
I spent the last few hours working through Rolex’s latest patent filing, and as I dug into the drawings and claims, several questions emerged. What follows is my attempt to make sense of what Rolex filed, and to discuss whether or not this might be the groundwork for their first modern perpetual calendar.


